SU Vergaser
Benzin brennt! Das sollte man bei allen Arbeiten am Vergaser bedenken. Und ohne Luftfilter, kann es vorkommen, dass kleine Flammen aus der Vergaseröffnung zum Luftfilter kommen können. Deshalb blicken Sie nicht zu tief in den Vergaser. Vergaser, die überholt wurden, könnten lecken. Wenn ich Arbeiten am Vergaser vornehme, steht ersten ein großer Feuerlöscher (geeignet für Öl und Benzin) und zweitens eine große „Feuerlöschdecke“ bereit.
Grundsätzlich gilt für mich: „never change a running system“. Erst wenn ich das Gefühl habe, dass man Einstellungen vornehmen muss, tue ich es. Davor gilt mein Grundsatz.
Wenn ich dennoch mit Arbeiten am Vergaser beginne, stelle ich sicher, dass die Zündung, der Motor inkl. Zylinderkopf in einem guten Zustand sind sowie der Vergaser keine Nebenluft zieht. Erst dann sind die Einstellarbeiten sinnvoll. Das bedeutet, dass ich immer von links nach rechts gehen (auf den Wagen von vorne geblickt), wenn Arbeiten anstehen.
Über die grundlegende Funktion lesen Sie bitte meinen Beitrag SU-Vergaser.
Notwendiges Werkzeug
- Luftmassenmesser – Synchrontester
- Zölliges Werkzeug
- Dichtungen – Vergaser zu Hitzeblech; Hitzeblech zu Einlasskrümmer usw.
- Repair-Kit von Burlen
- Spitzzange
- Zentriervorrichtung für Düsenstocklager
- Spezialschlüssel für die Einstellung der Düsenhöhe – dann geht es einfacher
- Schraubenzieher – klein
- Reibahle 5/6″ – Kommt sehr selten zum Einsatz
- Viel Feingefühl
Grundsätzlich ersetze ich immer alle Dichtungen, besonders wenn das Alter nicht bekannt ist.
Die eierlegende Wollmilchsau
Die SU-Vergaser wurden in viele englische Fahrzeuge verbaut. Von MG bis hin zu Rolls Royce findet man das gute Stück. Wobei beim Rolls Royce andere Legierungen verwendet wurden und die Bauform sich änderte. Aber auch diese Vergaser laufen mit vielen SU-Patenten. SU baute aber nicht nur für Autos Vergaser, sondern ebenso für Flugzeuge und Traktoren. Meine persönliche Erfahrung ist, dass die Vergaser äußerst robust und langlebig sind. Die Ersatzteilversorgung ist nahezu perfekt für alle H(x)- Vergaser.
Funktionsweise
Die meisten Oldtimer sind auf Vergaser angewiesen, um das Fahrzeug mit dem fein zerstäubten Kraftstoff-Luft-Gemisch zu versorgen, das für eine zufriedenstellende Leistung erforderlich ist. Der Vergaser muss eine gute Zerstäubung und das richtige Gemisch (Kraftstoff/Luft) unter allen Betriebsbedingungen des Motors gewährleisten.
Die Methode, die bei allen SU-Vergasern verwendet wird, besteht darin, die Geschwindigkeit der Luft mit Hilfe einer Drosselklappe zu beschleunigen, wenn man auf das Gaspedal drückt. Den dadurch entstehenden Druckabfall in den Vergasern nutzt man, um Kraftstoff aus der Schwimmerkammer durch eine geeignete Düsenöffnung in den Luftstrom zu ziehen (Venturi-Effekt). Der ideale Vergaser ist ein Instrument, das bei richtiger Einstellung, den Motor jederzeit mit dem optimalen Gemisch versorgt.


Was ist das beste Gasgemisch?
Das optimale Verhältnis besteht aus 14,7 mal so viel Luft wie Sprit. Das entspricht 6,8% Benzinanteil im Gasgemisch (Gewichtsanteile). Hier reden wir vom Optimum (Lambda = 1). Laut den Lehrbüchern hat man bei Lambda 1,1 die beste Wirtschaftlichkeit (ca. 16,17 kg Luft zu 1 kg Benzin) und eine hohe Performance bei Lambda 0,85 (ca. 13 kg Luft zu 1 kg Benzin). Wenn der Luftanteil zu niedrig oder der zu hoch, ist das Gasgemisch nicht mehr zündfähig. Wenn wir also den Motor im Tal bei 500 Meter ü.d.M. einstellen, kann es uns passieren, dass uns der Motor „absäuft“, wenn wir einen Pass mit ca. 2500 Meter ü.d.M. überqueren wollen. Das Gemisch wird nämlich dann zu „fett“. Für solche Fälle habe ich andere Nadeln im Gepäck, damit ich das Gemisch besser regulieren kann ohne die Einstellungen zu verändern. Fazit: Die Kerzen sollten immer schön braun sein :).
Bitte achtet darauf, dass man nur sehr kurz mit einem zu „mageren“ Gemisch fahren soll. Die Auswirkungen können im Workshop Manual usw. nachgelesen werden.
Vergasertypen im MG
| MG Typ | Vergasertyp – Bezeichnung – Größe des Lufteinlasses |
| MGA 1500 | AUC 784F, AUC 784R. – H4 – 1 1/2″ = 38,10 mm |
| MGA Twin Cam | AUC 877F, AUC 877R. – H6 – 1 3/4″ = 44,45 mm |
| MGA MK I und MK II | AUC 943F, AUC 943R. – H4 – 1 1/2″ = 38,10 mm |
| MGB bis 1963 | AUD 52F, AUD 52R. – HS4 – 1 1/2″ = 38,10 mm |
| MGB Competition bis 1964 | AUD 129F, AUD 129R. – HD8 – 1 8/8″ = 50,80 mm |
| MGB 1965-1967 | AUD 135F, AUD 135R – HS4 – 1 1/2″ = 38,10 mm |
| MGB 1967-1968 | AUD 278F, AUD 278R – HS4 – 1 1/2″ = 38,10 mm |
| MGB USA 1968 | AUD 265F, AUD 265R – HS4 – 1 1/2″ = 38,10 mm |
| MGB 1969 – 1971 | AUD 325F, AUD 325R – HS4 – 1 1/2″ = 38,10 mm |
| MGB MK II USA 1970-1971 | AUD 405F, AUD 405R – HS4 – 1 1/2″ = 38,10 mm |
| MGB ab 1972 | AUD 434F, AUD 434R – HIF4 – – 1 1/2″ = 38,10 mm |
| MGB ab 1976 | FZX 1229F, FZX 1229R – HIF4 – – 1 1/2″ = 38,10 mm |
| MGB V8 GT E.C.E 8 ab 1973 | AUD 613LH, AUD 613RH – HIF6 – 1 3/4″ = 44,45 mm |
Tipps und Methoden:
Verwechseln Sie niemals den Vergaserdeckel und sein passender Kolben. Ein unzertrennliches Pärchen. Ein Kolben muss nicht in einen anderen Vergaserdeckel passen. Sollte es dennoch passieren, dass Sie etwas vertauschen, müssen Sie die Löcher im Kolben verkleben und einen Falltest machen. Dazu schieben Sie die Kolben komplett in die Deckel. Und lassen die Kolben zur selben Zeit los. Beide Kolben müssen beinahe zeitgleich „herunterschweben“. Bitte lassen Sie den Kolben nicht auf den Boden fallen. Grundsätzlich gilt, der Kolben muss sich berührungsfrei im Deckel bewegen. Er darf die Wände des Deckels nicht abschaben.
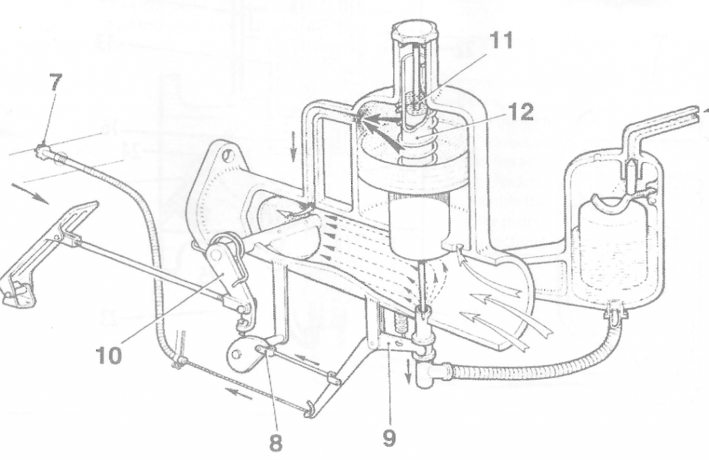
Die Überlaufleitungen sind zu kurz. Das könnte dazu führen, dass Benzin auf den Krümmer kommen könnte und sich dort entzündet. Die korrekte Leitungsverlegung bei einem MGA können Sie im Bild erkennen. Sie führt bis zur Ölwanne. Hier handelt es sich um H4 Vergaser.

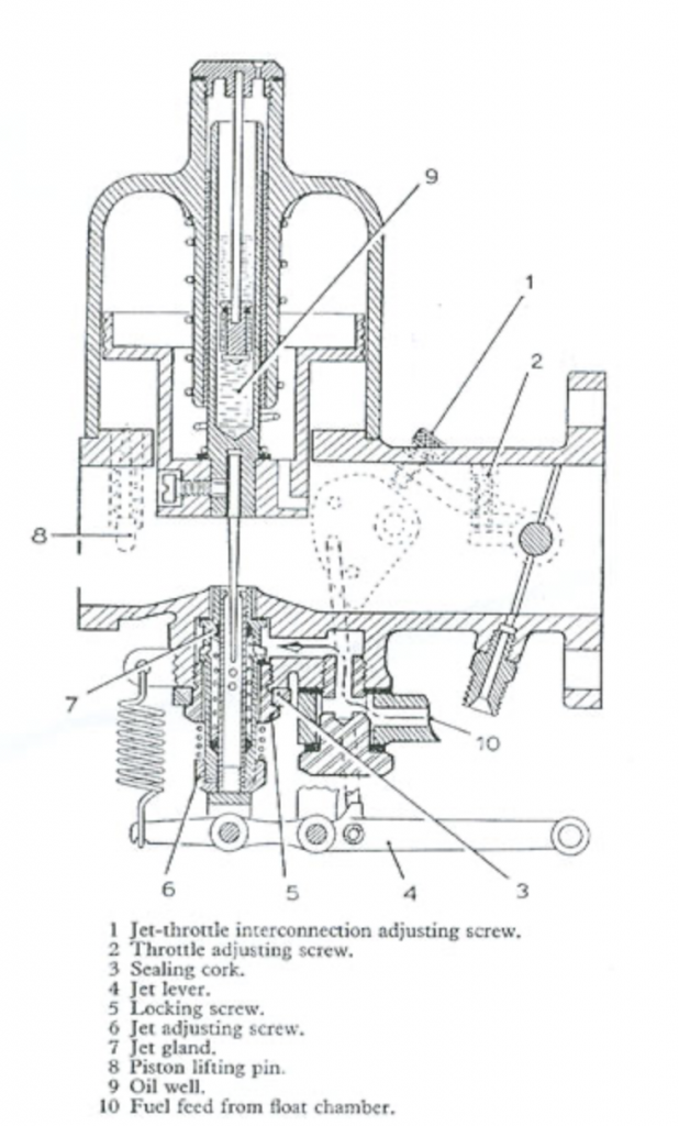
Beim Zusammenbau achten Sie bitte darauf, dass das Düsenstocklager mittig ausgerichtet ist. Ich verwende hierzu eine Zentriervorrichtung. Damit verhindert man, dass die Nadel um Düsenstock schleift.
Meist ist die Drosselklappenwelle abgenutzt. Selten die Buchse im Vergaser. Über die Drosselwelle könnte der Vergaser „Falschluft“ ziehen.

Bild 8: Drosselklappenwelle – Ausgebaut
Auf der rechten Seite von Bild 8 erkennt man bereits hohe Abnutzungsspuren. Eine Abnutzung von über einem halben mm (0,8mm) ist dort bereits vorhanden. Auf der linken Seite nur knapp 0,6mm Der Vergaser zog bereits Nebenluft. Die Laufbuchse war aber noch in der Toleranz. Man erkannte bereits das zu hohe Spiel , wenn man die Welle bewegte. Es zeigte sich wieder, dass eher die Wellen verschleissen und nicht die Buchsen. Wir kennen das auch bei den Kipphebelwellen.
Legen Sie die Korkdichtungen ein paar Tage in Öl, wenn Sie diese wechseln.
In vielen Videos wird empfohlen, dass man die Einstellschraube für den Düsenstock 12 Umdrehungen nach unten schrauben soll. Ich lasse immer 1,5 mm Abstand zwischen den Vergaserboden und dem Düsenstock nach unten. Dieses Maß finde ich am Besten und i.d.R. läuft der Motor damit schon recht gut.
Die Schwimmerkammer wird beim H Vergaser mit einer Schraube von unten an den Vergaser befestigt. Die Unterlegscheibe muss leicht gewölbt sein, damit die Dichtung nicht zur Seite herausquillt. Bitte ziehen Sie diese Schreibe nicht zu fest an. Handfest, bis kein Benzin mehr tropft, reicht in der Regel aus.
Ein Ultraschallbad mit einem guten Reiniger oder Benzingemisch reicht in der Regel, um die gröbsten Verschmutzungen zu beseitigen.
Düsenstock und Nadel sowie Dämpferfeder. Kosten nicht viel und werden bei mir immer gewechselt, da man das Alter häufig nicht bestimmen kann. Düsenstock meist schon abgenutzt sind und die Nadeln ggf. ebenso. Deshalb ersetzte ich diese Bauteile immer, wenn ich den Vergaser nicht kenne.
Beim Bohren der Löcher in die Drosselwellenklappe, um entsprechende Hebel anzubringen, verwende ich einen 2,8-mm-Bohrer. 3 mm sind mir zu groß. 2,6 mm habe ich probiert, aber dann bekomme ich den Haltestift nicht mehr ins Loch.
Nicht immer ist eine falsche Nadel oder ein defekter Düsenkopf schuld an einem falschen Gemisch. Überprüfen Sie die Schwimmerkammer und den Abstand der Gabel (die das Ventil schliesst) zum Gehäuse. Der sollte im H4 11mm betragen. Ist er der Abstand größer, läuft der Motor ggf. zu mager. Ich verwende hierfür eine Rundholz mit 11mm Durchmesser und einer Länge von ca. 10cm aus dem Baumarkt. Man kann auch einen 11mm Bohrer verwenden.
Einstellungen nur vornehmen, wenn der Motor (noch) warm ist.
Verwendet niemals flüssiges Dichtungsmittel / Dichtmassen, um etwas abzudichten am Vergaser. Ich machte diesen Fehler einmal. Angeblich war die Dichtmasse „Benzinfest“. Nach ein paar Meilen (ca. 150) viel ein Vergaser aus. Mit einem stotternden Auto fuhren wir auf einen Parkplatz. Dass es wohl am Vergaser liegt, stellten wir schnell fest, da sowohl Zylinder 1 als auch 2 betroffen waren. Zündfunke war vorhanden. Die Leitung förderte den Kraftstoff in Richtung Kammer des ersten Vergasers (von vorne gesehen). Dashpott usw. waren freihändig. Nadel rutsche auch schön ein den Düsenstock. Benzin war in der Schwimmerkammer. Mechanisch konnten wir am Vergaser keine Auffälligkeiten feststellen. Unterdruck wurde vom Motor erzeugt. Da wir die Vergaser zwischen Schwimmerkammer und Vergaser erst kürzlich neu abgedichtet haben, haben wir dort nach den Fehler gesucht. Am Ende fanden wir den Übertäter. Ein Stück der Dichtungspaste hat sich irgendwo gelöst, obwohl nur hauch-dünn aufgetragen, und ist in den Düsenstock geschwommen. Dort blockierte ein kleiner winziger Klumpen die Benzinzufuhr im Stock. Durchgeblasen und gereinigt ging es dann nach ca. 2 Stunden weiter. Danach lief er ohne Tadel.


Beide Bilder stammen von Burlen LTD. – www.burlen.co.uk
Einstellung
Man könnten stundenlang diskutieren, welche Nadel, welche Feder und welches Dämpferöl man verwendet, um das Optimum herauszuholen. Einige Enthusiasten schleifen sich die Nadel selbst und verändern Düsenstöcke.
Auf dieses Niveau kann und will ich mich nicht begeben. Für mich ist wichtig, dass der Vergaser / Motor ordentlich läuft. Ob ich nun 3 PS mehr habe oder nicht, ist für mich nachrangig. Beim MGA mit Standardluftfiltern verwenden ich die rote Feder, die GS-Nadel und das SU Dämpferöl. Sollte eine Reise anstehen, die sich maßgeblich über 1500Meter über den Meeresspiegel bewegt, dann tausche ich die Nadel. Denn oben wir die Luft dünner und man sollte irgendwann den Vergaser anpassen.
Für meine Einstellungen verwende ich einen Abgastester (CO) und Colortune, damit man währendes des Motorbetriebs in die (Ver)Brennkammer blicken kann. Sind die beiden Vergaser synchronisiert geht es los und ich nehme eine Nebenluftprüfung (Falschluft) vor. Ich habe keine Nebelmaschine, deshalb verwende ich zur Not einen Bremsenreiniger, wenn keine andere Alternative zur Hand. ACHTUNG: Sehr vorsichtig und sparsam damit umgehen. Feuergefahr!!! Alternativ kann man auch „Motor-Lecksucher“ Spray verwenden. Damit befindet man sich auf der sicheren Seite, um Lecks zu finden.
Erst wenn die Verbrennungsfarbe und der CO Gehalt passen, wird erneut die Synchronisierung (Luftzufuhr) getestet. Stimmt alles, dann werden Standgas und Coke eingestellt. Am Ende werden die Luftfilter wieder montiert. Hierbei kann es vorkommen, dass er danach wieder etwas „fetter“ läuft. Aber in der Regel ist das alles noch im Rahmen. Mein CO Werte beläuft sich auf ca. 3,0-3,5%. Wenn ich unter 2% gehe, dann höre ich, dass der Motor sich schwerer tut. Bei über 5% ebenso. Subjektiv läuft mein Motor bei 3,0-3,5% am Besten und mit der Verwendung von Colortunes habe ich eine „schöne“ Farbe im Brennraum. Damit habe ich gute Erfahrungen gemacht. Aber auch hier höre ich immer wieder verschiedene Meinungen. Für mich bleibt es dabei. Mit meinen Werten läuft der Motor gut. Die Kerzen sind braun und sehen gut aus.